双支点水利自控翻板闸门是水利自控翻板闸门的另外一种结构形式,其支撑结构与连杆滚轮不铜的是没有了连杆结构,增加了动滑轮和导轨,其它结构组价及共工作原理与连杆滚轮是基本相同,都是以挡水板自身重力与水压平衡的原理来实现翻板闸门的开启或关闭。
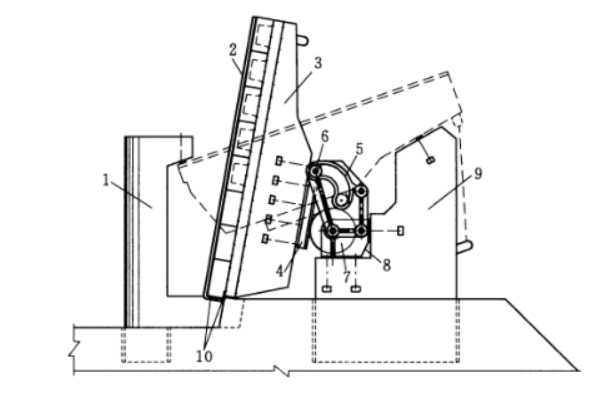
一、双支点水利自控翻板闸门结构图组件

图解说明:1-限位墩;2-面板;3一支腿;4一直轨;5一导轨;6-动滑轮;7-定滑轮;8-轮座;9-支墩;10-止水。

二、双支点水利自控翻板闸门安装要点
1、在翻板闸门安装前应对所有闸门构件进行检查,如发现不合格的构件,应予返工重新制作。构件应按总装图纸要求安装。钢构件出厂前应进行预组装,检查构件组装后运转是否正常,如发现构件运转不顺畅,或有异响,应分析原因并处理后再出厂。
2、支墩和止水埋件安装前,应对止水埋件进行复查,经检查不符合标准的止水埋件应进行校正;二期混凝土的结合面应凿毛,并清除预留槽中杂物。支墩和止水埋件应定位防止偏移,检查合格后宜立即浇筑二期混凝土,其强度等级和耐久性不应低于堰体混凝土的强度等级和耐久性。
3、面板拼装完毕,安装止水橡胶的部位应找平抹浆,养护后方可安装止水橡胶。
4、支腿、支墩安装高程允许偏差应小于2mm,平面尺寸允许偏差应小于2mm。
5、轮座、铰座安装高程允许偏差应小于1mm,支铰同轴度允许偏差应小于1mm。
6、闸门止水埋件安装平整度允许偏差应小于2mm,并用加固钢筋固定。
7、翻板闸门安装止水橡胶后应进行闭门自检,每闸门应人工启闭一次,门顶的迎水面应成一条直线。闸门间应均匀,止水橡胶应顺直不透光。
8、 分阶段安装的翻板闸门应对已安装闸门拉到全开锁定
9、翻板闸门初次关闸蓄水,应检查拼缝、栓孔、止水橡胶止水效果。闸门在承受设计水压力时,对达到0.15L/(s·m)的漏水点应做好标记,并采取补救措施。
三、双支点水利自控翻板闸门景观效果图

