底横轴驱动钢坝也被称为景观闸门、景观钢坝闸,主体采用钢结构形式,与一般液压坝不同的是液压启闭机布置在钢坝两端的闸室内,通过驱动连杆或齿轮的传动件来实现坝面的升降,坝面与底轴采用刚性连接,可使坝面在0-90°范围内翻转,还可称其为底横驱动翻板闸门等,多用于河道较宽,水位差较小的河道,景观效果好。

一、底横轴驱动钢坝结构组件
门页、拐臂、支铰座、穿墙套管、底水封、底横轴、自润滑轴承、液压驱动装置、锁定装置等组件构成。其中门页是挡水构建,支铰座是底轴的支撑装置,穿墙套管指底轴穿过混凝土闸墩的封水装置,锁定装置指将闸门固定在某一开启位置的装置,液压驱动装置指液压启闭机系统。

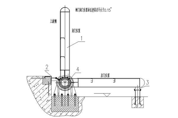
说明:图中1表示门页,2表示底止水,3表示搁门器,4表示铰座
二、底横轴驱动钢坝工作原理
以液压启闭机为驱动装置,通过布置于闸坝两侧的驱动室内两台液压启闭机驱动装置来驱动拐臂,从而带动支承在支铰座上的底转轴转动,带动刚性连接在底转轴上的坝面(门页)翻转,从而实现钢坝闸的升坝或卧坝等动作。
三、底横轴驱动钢坝优势特点
1、能够实现双向挡水;
2、灵活启闸门开度无级可调、方便调度,现了人水和谐的城市景观,环境效益巨;
3、工程隐蔽、无碍防汛和通航;
4、改善河道景观闭;
5、采用双台单独液压驱动系统,且驱动系统位于钢坝闸的两端,方便维修保养;
6、响应速度快,压力可调,可远程控制监控;
7、适用范围广泛:由于底轴驱动钢坝采用了开放式铰座连接,安装方便,工期短,使得闸门适用范围更加广泛。无论是水利水电工程还是城市景观工程,都能找到底轴驱动钢坝的用武之地;
8、底轴驱动钢坝的安装成本相比其他闸门要低很多。这主要得益于其开放式铰座连接的设计,使得安装过程更加简便快捷,从而降低了安装成本。

四、底横轴驱动钢坝的安装要点
1、整体闸门在安装前,应按设计图纸对各项尺寸进行复测。
2、分节闸门在组装成整体后,应按标准有关规定对其各项尺寸进行复测。
3、钢坝闸在闭门位置时,闸门垂直度允许偏差 ±0.15°。
4、 橡胶水封的螺孔位置应与门叶及水封压板上的螺孔位置一致,孔径应比螺栓小 1.0mm,应采用专用空心钻头掏孔并严禁烫孔,均匀拧紧螺栓后,其端部至少应低于橡胶水封自由表面 8.0mm。
5、橡胶水封表面应光滑平直,橡塑复合水封应保持平直运输,不得盘折存放。
6、橡胶水封接头宜采用生胶热压硫化胶合方法,胶合接头处不得有错位、凹凸不平和疏松现象,若采用常温粘接剂胶合,抗拉强度应不低于橡胶水封抗拉强度的 85%。

五、底横轴驱动钢坝的应用
底横轴驱动钢坝不仅具有双向挡水功能,还有保水和排水的功能,因此在水利工程种被得到广泛应用,比如城市河道、景观河道、农田灌溉等。